八年未减持终结,好太太侯鹏德套现2.74亿,总经理周亮、董秘李翔等多位高管减持 | 长三角资本局

admin5天前资讯20

  文|新浪财经上海站 十里

  在A股公司中,长期不减持往往意味着一种隐性的“共识”。而当这种共识被打破,变化往往不会只停留在股东层面。

八年未减持终结,好太太侯鹏德套现2.74亿,总经理周亮、董秘李翔等多位高管减持 | 长三角资本局

  2026年3月17日,好太太一则减持公告,将这种转折集中呈现。持股4.72%的股东侯鹏德计划在4月9日至7月8日期间减持不超过1207.2万股,按公告前股价测算,对应套现金额约2亿元。这已是其第二次减持。

八年未减持终结,好太太侯鹏德套现2.74亿,总经理周亮、董秘李翔等多位高管减持 | 长三角资本局

  时间回溯到2025年9月至10月,侯鹏德完成了首次减持,累计卖出350万股,套现约7448万元。

  若叠加本轮减持,其累计套现金额将达到约2.74亿元。这意味着,这位IPO前入场的老股东,在短短半年时间内完成了从“长期持有”到“连续兑现”的转变。相比单次减持,更值得关注的是节奏的变化。

  2017年上市至2024年,公开信息显示,好太太没有披露过高管减持记录,而侯鹏德本人也直到2025年才开启首次减持。

八年未减持终结,好太太侯鹏德套现2.74亿,总经理周亮、董秘李翔等多位高管减持 | 长三角资本局

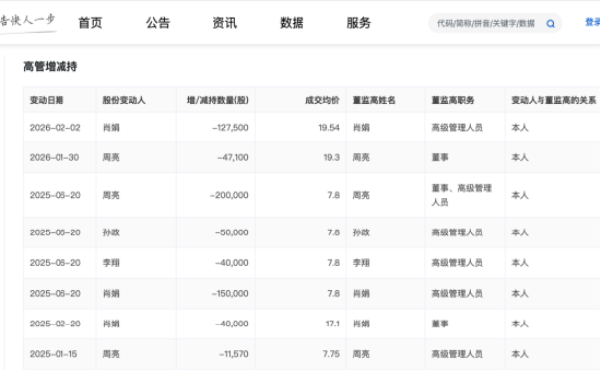
  据巨潮网显示,从八年未动,到两次连续减持,这种时间上的断裂,使得此次动作不再只是简单的资金安排。变化也不止于一人。自2025年以来,公司核心管理层开始同步出现减持行为。总经理周亮、副总经理肖娟、财务总监孙政以及董事会秘书李翔均陆续减持股份。

八年未减持终结,好太太侯鹏德套现2.74亿,总经理周亮、董秘李翔等多位高管减持 | 长三角资本局

  其中,2025年6月,孙政、李翔分别减持5万股和4万股;同月,周亮、肖娟亦开始第二次减持,分别减持20万股和15万股。进入2026年1月,两人再次披露第三次减持计划。

  从节奏上看,这更像是一轮由核心班子共同参与的“退出窗口”,而非个别行为。

八年未减持终结,好太太侯鹏德套现2.74亿,总经理周亮、董秘李翔等多位高管减持 | 长三角资本局

  减持节奏的变化,与公司基本面的波动几乎同步出现。2025年前三季度,好太太实现营业收入10.59亿元,同比微降;归母净利润1.43亿元,同比下滑24.79%;扣非净利润下滑幅度扩大至26.59%。在利润端承压的同时,公司经营现金流一度出现净流出,投资活动现金流持续为负,资金更多流向理财投资,期末现金余额有所下降。

  如果将视角从财务延伸至终端,另一种变化也在发生。在线下渠道,销售人员对线上产品的区隔表达得更为直接,材质差异带来的价格分层开始影响品牌认知;与此同时,消费者端关于产品质量与售后问题的反馈不断累积。叠加4月线下产品提价预期,价格、品质与服务三者之间的张力正在放大。

  当这些线索被放在同一时间轴上,逻辑开始变得清晰:股东与高管从长期不减持转向密集减持,业绩与现金流承压,终端口碑出现波动,这些变化几乎同时发生。

  对于好太太而言,过去依赖渠道与品牌构建的稳定结构,正在经历一次集中的检验。而当“八年不动”的共识被打破之后,市场更关注的,已不再是一次减持本身,而是这一轮变化究竟意味着什么阶段的结束。

相关文章

沃什也无力回天?中东乱局下美联储恐难逃加息宿命

沃什也无力回天?中东乱局下美联储恐难逃加息宿命

  来源:金十数据   麦格理预测,美联储下一次动作将是加息,最有可能是明年上半年,即使届时沃什可能已经上位,但他毕竟只有一票......   就在几周前,华尔街还笃定美联储的货币政策路径将转向宽松:...

香港天气(香港天气40天)

香港天气(香港天气40天)

本文目录一览: 1、香港一年四季的气温有什么特点? 2、1月底去香港冷吗 3、香港最高气温和最低气温是多少 4、香港天气怎么查 香港一年四季的气温有什么特点? 1、香港属于亚热带气候,全...

伊朗战争进入第五周,黄金或将迎来2008年以来最差月度表现

伊朗战争进入第五周,黄金或将迎来2008年以来最差月度表现

  核心要点   周二早盘金价小幅走高,但仍将录得近 17 年来最大月度跌幅。   美国现货黄金价格上涨约 1%,报每盎司 4553.69 美元;近月黄金期货上涨 0.6%,结算价约为 4553 美...

惠誉:确认工银标准“A-”长期发行人评级,展望“稳定”

惠誉:确认工银标准“A-”长期发行人评级,展望“稳定”

久期财经讯,3月18日,惠誉评级确认工银标准银行公众有限公司(ICBC Standard Bank plc,简称“工银标准”)的长期发行人违约评级为“A-”,展望稳定,短期发行人违约评级为“F1”。...

铜、铝等所有合约突然全部暂停交易 伦敦金属交易所称正在解决问题

铜、铝等所有合约突然全部暂停交易 伦敦金属交易所称正在解决问题

  伦敦金属交易所(LME)所有合约均已暂停交易,从铝到锌的各金属市场交易商无法下单,目前正在等待故障原因。   “我们已意识到问题,并正致力于尽快解决,”该交易所的一位发言人在电子邮件中表示。...

金晨-金晨演的电信诈骗电影

金晨-金晨演的电信诈骗电影

本文目录一览: 1、金晨是谁旗下的艺人 2、金晨参演的电视剧 3、金晨被提溜出来挡刀了吗 4、金晨主演的电视剧有哪些? 5、金晨个人资料? 6、金晨换了3个约会对象:爱情有没有完美...